Главная >> Информация >> Библиотека >> Инструктивные указания по определению веса наливных грузов в цистернах >> Таблица калибровки цистерны тип 14

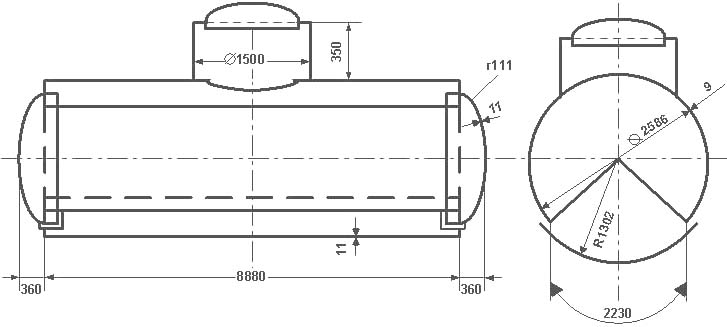
Таблица калибровки цистерны тип 14

Версия для печати


См. дм.куб.См. дм.куб.См. дм.куб.См. дм.куб.См. дм.куб.
295 49860 236 46980 177 35775 118 21700 59 8320
294 49845 235 46840 176 35550 117 21460 58 8120
293 49825 234 46700 175 35325 116 21215 57 7920
292 49810 233 46560 174 35095 115 20975 56 7720
291 49790 232 46415 173 34865 114 20735 55 7525
290 49775 231 46265 172 34635 113 20495 54 7330
289 49755 230 46115 171 34405 112 20255 53 7135
288 49740 229 45960 170 34175 111 20010 52 6945
287 49720 228 45805 169 33945 110 19770 51 6755
286 49705 227 45650 168 33715 109 19530 50 6565
285 49685 226 45490 167 33480 108 19290 49 6380
284 49665 225 45330 166 33250 107 19055 48 6195
283 49650 224 45165 165 33015 106 18815 47 6010
282 49630 223 45000 164 32785 105 18575 46 5825
281 49615 222 44835 163 32550 104 18340 45 5640
280 49595 221 44665 162 32315 103 18100 44 5460
279 49580 220 44490 161 32075 102 17860 43 5285
278 49560 219 44320 160 31840 101 17625 42 5105
277 49545 218 44145 159 31605 100 17390 41 4925
276 49525 217 43965 158 31370 99 17155 40 4750
275 49510 216 43790 157 31130 98 16920 39 4580
274 49490 215 43610 156 30895 97 16685 38 4410
273 49470 214 43425 155 30655 96 16450 37 4240
272 49455 213 43245 154 30415 95 16215 36 4070
271 49435 212 43060 153 30180 94 15980 35 3905
270 49420 211 42870 152 29940 93 15750 34 3745
269 49400 210 42685 151 29700 92 15520 33 3585
268 49385 209 42495 150 29460 91 15285 32 3425
267 49365 208 42305 149 29215 90 15055 31 3270
266 49350 207 42110 148 28975 89 14825 30 3115
265 49330 206 41915 147 28735 88 14595 29 2965
264 49315 205 41720 146 28495 87 14365 28 2815
263 49295 204 41525 145 28255 86 14140 27 2665
262 49280 203 41330 144 28010 85 13910 26 2520
261 49260 202 41130 143 27770 84 13685 25 2380
260 49245 201 40930 142 27530 83 13460 24 2240
259 49225 200 40725 141 27285 82 13235 23 2105
258 49185 199 40520 140 27040 81 13010 22 1970
257 49135 198 40315 139 26800 80 12785 21 1840
256 49075 197 40110 138 26555 79 12565 20 1710
255 49010 196 39905 137 26315 78 12340 19 1585
254 48940 195 39695 136 26075 77 12120 18 1460
253 48865 194 39485 135 25830 76 11900 17 1340
252 48780 193 39275 134 25585 75 11680 16 1225
251 48695 192 39065 133 25345 74 11465 15 1115
250 48605 191 38850 132 25100 73 11245 14 1005
249 48510 190 38635 131 24855 72 11030 13 900
248 48410 189 38425 130 24615 71 10815 12 800
247 48310 188 38210 129 24370 70 10600 11 700
246 48205 187 37990 128 24130 69 10390 10 605
245 48095 186 37775 127 23885 68 10175 9 520
244 47985 185 37556 126 23640 67 9965 8 435
243 47870 184 37335 125 23400 66 9755 7 355
242 47750 183 37115 124 23155 65 9545 6 280
241 47630 182 36895 123 22910 64 9340 5 210
240 47505 181 36670 122 22670 63 9130 4 150
239 47380 180 36450 121 22480 62 8925 3 100
238 47250 179 36225 120 22185 61 8720 2 55
237 47115 178 36000 119 21945 60 8520 1 15
 


Наши доски объявлений Продажа химии и нефтехимии,    Покупка химии и нефтехимии,     Услуги,     Транспорт,     Оборудование

Copyright © 2003-2026, HimTrade.ru – проект группы "Текарт".
Карта сайта... PDA-версия...
При любом использовании материалов HimTrade.RU ссылка обязательна.
Политика конфиденциальности
Пользовательское соглашение
Реклама на HimTrade.RU
Рейтинг@Mail.ru Ваши замечания и предложения направляйте на info@himtrade.ru