Главная >> Информация >> Библиотека >> Инструктивные указания по определению веса наливных грузов в цистернах >> Таблица калибровки цистерны тип 56

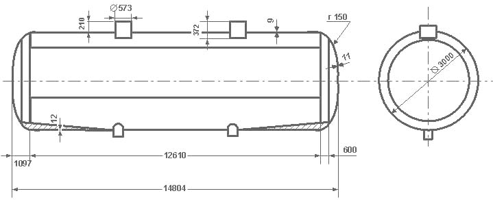
Таблица калибровки цистерны тип 56

Версия для печати


См. дм.куб.См. дм.куб.См. дм.куб.См. дм.куб.См. дм.куб.
300 100835 240 86755 180 63340 120 37405 60 13985
299 100805 239 86415 179 62915 119 36980 59 13645
298 100755 238 86070 178 62490 118 36555 58 13310
297 100685 237 85720 177 62065 117 36135 57 12975
296 100600 236 85375 176 61635 116 35715 56 12640
295 100505 235 85020 175 61205 115 35290 55 12310
294 100405 234 84670 174 60780 114 34870 54 11985
293 100290 233 84315 173 60350 113 34450 53 11655
292 100145 232 83955 172 59925 112 34035 52 11335
291 100035 231 83595 171 59495 111 33615 51 11010
290 99895 230 83235 170 59060 110 33200 50 10695
289 99750 229 82875 169 58630 109 32785 49 10375
288 99595 228 82510 168 58200 108 32365 48 10065
287 99430 227 82145 167 57770 107 31955 47 9755
286 99260 226 81775 166 57335 106 31540 46 9445
285 99085 225 81405 165 56905 105 31130 45 9140
284 98900 224 81035 164 56470 104 30715 44 8840
283 98710 223 80660 163 56035 103 30305 43 8540
282 98515 222 80285 162 55605 102 29900 42 8245
281 98315 221 79905 161 55170 101 29490 41 7955
280 98100 220 79530 160 54735 100 29085 40 7665
279 97895 219 79150 159 54300 99 28680 39 7375
278 97685 218 78765 158 53865 98 28275 38 7095
277 97460 217 78385 157 53425 97 27870 37 6815
276 97235 216 78000 156 52990 96 27465 36 6535
275 97005 215 77570 155 52555 95 27065 35 6265
274 96770 214 77225 154 52120 94 26665 34 5995
273 96535 213 76835 153 51685 93 26270 33 5725
272 96290 212 76445 152 51245 92 25870 32 5465
271 96045 211 76055 151 50810 91 25475 31 5205
270 95795 210 75660 150 50370 90 25080 30 4950
269 95535 209 75265 149 49935 89 24685 29 4700
268 95280 208 74870 148 49495 88 24295 28 4455
267 95015 207 74475 147 49060 87 23905 27 4210
266 94750 206 74075 146 48625 86 23515 26 3970
265 94480 205 73675 145 48185 85 23130 25 3735
264 94205 204 73275 144 47750 84 22745 24 3505
263 93930 203 72875 143 47315 83 22355 23 3285
262 93650 202 72470 142 46880 82 21975 22 3065
261 93365 201 72065 141 46445 81 21595 21 2840
260 93080 200 71660 140 46010 80 21215 20 2635
259 92790 199 71250 139 45575 79 20835 19 2425
258 92495 198 70845 138 45140 78 20460 18 2225
257 92200 197 70435 137 44705 77 20085 17 2035
256 91905 196 70025 136 44275 76 19710 16 1845
255 91600 195 69615 135 43840 75 19335 15 1660
254 91295 194 69200 134 43400 74 18965 14 1485
253 90990 193 68790 133 42975 73 18600 13 1315
252 90680 192 68375 132 42545 72 18235 12 1150
251 90365 191 67960 131 42110 71 17870 11 995
250 90050 190 67545 130 41680 70 17505 10 845
249 89730 189 67125 129 41250 69 17145 9 705
248 89410 188 66710 128 40820 68 16785 8 575
247 89085 187 66290 127 40390 67 16430 7 450
246 88760 186 65890 126 39965 66 16075 6 340
245 88435 185 65450 125 39535 65 15720 5 235
244 88100 184 65030 124 39105 64 15370 4 125
243 87770 183 64610 123 38680 63 15020 3 90
242 87435 182 64185 122 38255 62 14675 2 40
241 87095 181 63765 121 37830 61 14330 1 10
 


Наши доски объявлений Продажа химии и нефтехимии,    Покупка химии и нефтехимии,     Услуги,     Транспорт,     Оборудование

Copyright © 2003-2026, HimTrade.ru – проект группы "Текарт".
Карта сайта... PDA-версия...
При любом использовании материалов HimTrade.RU ссылка обязательна.
Политика конфиденциальности
Пользовательское соглашение
Реклама на HimTrade.RU
Рейтинг@Mail.ru Ваши замечания и предложения направляйте на info@himtrade.ru